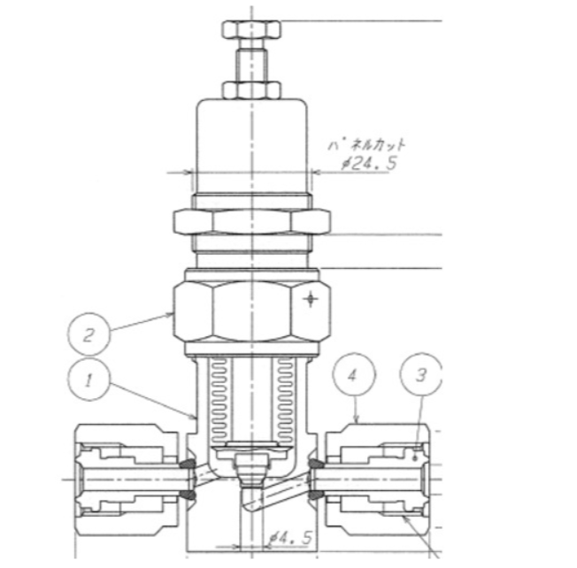
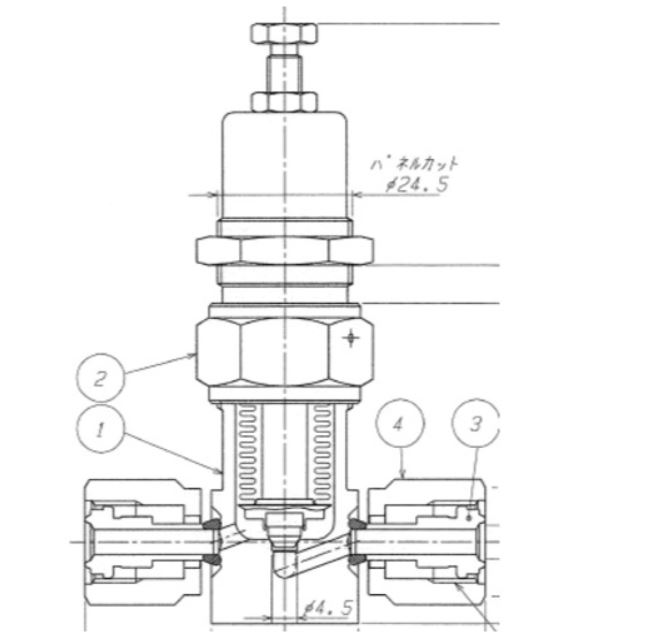
FUJIKIN富士金黄铜球阀DBV-12B-BU-R 详询:18105608873
FUJIKIN富士金黄铜球阀DBV-12B-BU-R 详询:18105608873
FUJIKIN富士金黄铜球阀DBV-12B-BU-R 详询:18105608873
特性
蝶形手柄式双头螺栓型。
轻量、紧凑。
球阀
螺旋式
手动
用途
-10~80℃的液体及气体用。
低压空气、惰性气体关闭用
商品规格
规格、规格
再生型
蝶形手柄式
压力:1.96MPa(空气静流40℃时)
标称直径A:8
标称直径B:Rc1/4
全长(mm):40.0
高度(mm):30
手柄长度D(mm):46
最高允许压力(MPa):1.96
使用温度范围(℃):-10~80
Cv数值max:1.4
面间(mm):40.0
内径(mm):5.0
材质
黄铜(C3771)
质量/质量单位
100g



FUJIKIN富士金SUS钢制波纹管型溢流阀FUABF-71-6.35-2-AJ3