SAKAGUCHI 坂口电热加热器50毫升・100ml/烧杯类型EMI100
SAKAGUCHI 坂口电热加热器50毫升・100ml/烧杯类型EMI100
SAKAGUCHI 坂口电热加热器50毫升・100ml/烧杯类型EMI100
以往的面状加热器由于绝缘材料使用硅橡胶等,从物性上来说,直接浸入“药液”等进行加热是困难的,但由于覆盖了氟树脂,因此可以在烧杯内进行直接加热。
特长
优异的耐候性・耐药品性
由于是氟树脂材料,耐候性·具有优异的耐化学性
不易产生污垢且清洁
加热器表面(氟树脂)具有优异的非粘着性,因此不易产生霉菌、污垢等
升温快,效率高
由于可以直接浸入药液等液体中加热,升温速度快,效率高
温度控制容易
由于内置热电偶,药液等的温度控制容易
节能·节省空间
发热部薄,可以设置在烧杯的底部,节省能源
规格:
使用温度:常用80℃液温(仅供参考,实际可使用温度因实际使用环境而异)
最低液量:20毫升/30毫升
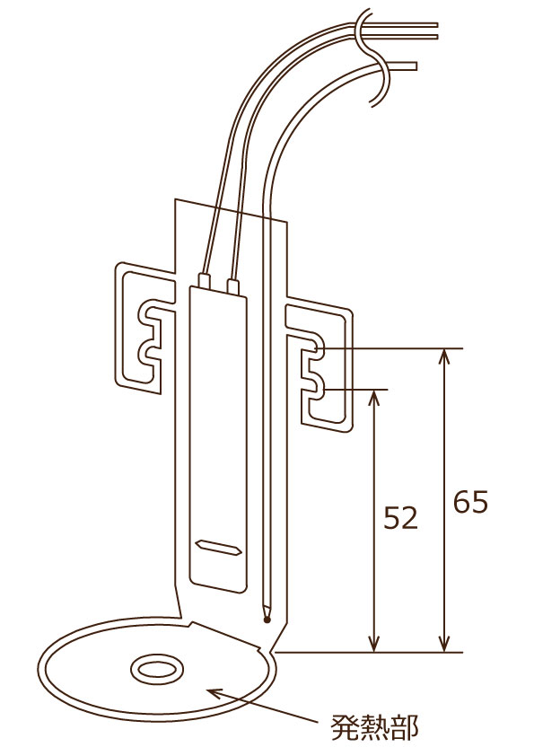
发热部的厚度:0.7mm
発熱部直径:38mm
定格:48伏30瓦
电力密度:4W/ 平方厘米
引线长度:1000毫米
熱電対:K型号
温度保险丝:无

DESCO美国770716便携式静电场仪表测量156-5513-4803